TOUT SAVOIR SUR LES AMORTISSEURS
Sujet
J'ouvre un petit sujet sur les amortos (et fourches ) afin de partager nos expériences, nos trucs et astuces et nos bonnes adresses concernant la réfection de nos suspattes :)
MARZOCCHI
OHLINS
GIRLING
CORTE COSSO
KONI
BI TUBO
SEBAC
PAIOLI
SACHS
enfin bref tous les amortisseurs qui protègent nos séants😉
MARZOCCHI
OHLINS
GIRLING
CORTE COSSO
KONI
BI TUBO
SEBAC
PAIOLI
SACHS
enfin bref tous les amortisseurs qui protègent nos séants😉
La pensée n'est pas un sport. Elle ne peut être le prétexte de petites réussites que récompensent des applaudissements. Elle n'est pas désintéressée. Elle n'est pas le fait d'un homme isolé. Les découvertes de tous entraînent l'évolution de chacun.
L'atelier de gégé: http://mon-site-83.e-monsite.com/Moto(s) : KTM 50 GS 77/ ZUNDAPP 50 GS 74/ FANTIC 50 RC 76 /125 GILERA VALLI 74 /BPS 125 SUPER ELAN 74
Merci Gégé, c'est un sujet qui est top ça.
Vu l’expérience de quelques uns parmi vous à ce niveau la, ça s'annonce top.
Je reconnais bien volontier que je suis à l’arrêt sur le sujet.
Merci de me (nous?) rendre moins inculte👍
Vu l’expérience de quelques uns parmi vous à ce niveau la, ça s'annonce top.
Je reconnais bien volontier que je suis à l’arrêt sur le sujet.
Merci de me (nous?) rendre moins inculte👍
"En avant!"Moto(s) : 80 Fantic RC/ AIM 75 RG Sachs
Superbe idée effectivement, cela sera très instructif pour les p'tit gars comme moi 👍👍
"Le Pape du 50" a représenté une époque bénie dédiée au pisse feu !!
Nous allons essayer de lui rendre hommage, grâce à ce site, et en profitez pour redonner leurs légitimités au tasses !!Moto(s) : QRO 50 Endurisé (le seul)
Super idée Gégé. 👍
Si on trouve assez facilement sur le net des infos sur la restauration des moteurs ou des parties cycles, par contre des infos pour savoir comment restaurer ses suspensions, c'est beaucoup moins évident.
Voilà un post que je vais suivre avec assiduité.
En plus j'ai plein de questions !!!
Si on trouve assez facilement sur le net des infos sur la restauration des moteurs ou des parties cycles, par contre des infos pour savoir comment restaurer ses suspensions, c'est beaucoup moins évident.
Voilà un post que je vais suivre avec assiduité.
En plus j'ai plein de questions !!!
Moto(s) : APRILIA RC 50 de 1976, CIMATTI kaiman et FANTIC caballero
Vestige des tous débuts de l'enduro vintage, le site de Gilles Gaillard est toujours accessible :
https://enduretro.free.fr/
A la rubrique "Technique" il y a quelques trucs sur les Sachs et Marzo
https://enduretro.free.fr/
A la rubrique "Technique" il y a quelques trucs sur les Sachs et Marzo
Moto(s) : SWM-Gilera-Fantic-Hercules-KTM-Ossa-BPS
Merci Gégé pour cette excellente initiative 👍
Merci également à JMO de nous rafraichir la mémoire avec ce bon vieux site à l'abandon depuis des années :cry:
Le fichier sur les Sachs est excellent 👍
Merci également à JMO de nous rafraichir la mémoire avec ce bon vieux site à l'abandon depuis des années :cry:
Le fichier sur les Sachs est excellent 👍
Le mieux est l'ennemi du bien...............! ;)Moto(s) : 50 Fantic Trial TX370 79 / 75 RC FM380 pour Gat_Junior / 80 KX enduro
Gégé à ecrit:
En attendant la finition du pot , je vais pouvoir monter les KONI GP smiley_07 ça n'a pas été simple de les refaire , mais ! il sont prêts .
dédicace a mimi pour son aide sur le coup des tiges.
En attendant je les ai fait plus long de 5 cm, j'aurai une meilleure assiette.;)
En attendant la finition du pot , je vais pouvoir monter les KONI GP smiley_07 ça n'a pas été simple de les refaire , mais ! il sont prêts .
dédicace a mimi pour son aide sur le coup des tiges.
En attendant je les ai fait plus long de 5 cm, j'aurai une meilleure assiette.;)
"En avant!"Moto(s) : 80 Fantic RC/ AIM 75 RG Sachs
salut
un probleme qui touche les marzo et qui a conduit bien des tiges piquées a la poubelle
en effet les tetes sont serties ds les tiges
voici ma solution
prendre la tige ds un tour, arraser les deux bossage et dresser une une portée
[img]https://img.squadra50.fr/img_forum/2016/50/744_16.jpg[/img
j'ai une piece especiale qui me permet de reprendre la piece par la tete
donc remetre le tout ds le mandrin verifier par la rotation que la tige tourne droit (si elle est tordue la redresser a peu pres)
bien bloquer et tronconner sur place la tige
il y a plus qu'a percer et tarauder et vous pouvez faire faire des tiges neuves chez un tourneur qui a surement du barreau chromer en 10 ou 12
par pitie ne jetez plus rien:)
ps j'ai peu de temps mais je peu faire quelques tetes de temps en temps (mais pas les tiges trop long)
un probleme qui touche les marzo et qui a conduit bien des tiges piquées a la poubelle
en effet les tetes sont serties ds les tiges
voici ma solution
prendre la tige ds un tour, arraser les deux bossage et dresser une une portée
[img]https://img.squadra50.fr/img_forum/2016/50/744_16.jpg[/img
j'ai une piece especiale qui me permet de reprendre la piece par la tete
donc remetre le tout ds le mandrin verifier par la rotation que la tige tourne droit (si elle est tordue la redresser a peu pres)
bien bloquer et tronconner sur place la tige
il y a plus qu'a percer et tarauder et vous pouvez faire faire des tiges neuves chez un tourneur qui a surement du barreau chromer en 10 ou 12
par pitie ne jetez plus rien:)
ps j'ai peu de temps mais je peu faire quelques tetes de temps en temps (mais pas les tiges trop long)
Moto(s) : portal bps
Moto(s) : portal bps
gpm1 a écrit :Et les DeCarbon gégé ?
Bonbonne acier
Bonbonne alu
et ceux ci aussi 🙂 les frères PORTAL aimaient bien les DE CARBON (il avaient raison) 🙂
t’inquiète pas CLAUDE !!! je les ais gardé pour la fin avec les BILSTEIN
😀
La pensée n'est pas un sport. Elle ne peut être le prétexte de petites réussites que récompensent des applaudissements. Elle n'est pas désintéressée. Elle n'est pas le fait d'un homme isolé. Les découvertes de tous entraînent l'évolution de chacun.
L'atelier de gégé: http://mon-site-83.e-monsite.com/Moto(s) : KTM 50 GS 77/ ZUNDAPP 50 GS 74/ FANTIC 50 RC 76 /125 GILERA VALLI 74 /BPS 125 SUPER ELAN 74
mac gyver a écrit :salut
un probleme qui touche les marzo et qui a conduit bien des tiges piquées a la poubelle
en effet les tetes sont serties ds les tiges
le montage têtes / tiges des Paiolli est un assemblage cöne sur cône à la presse
j'ai chauffé bien fort pour pouvoir démonter et remontage identique à l'origine avec du bloc presse en plus
mon avis Mac : l'écrou n'est pas nécessaire , le frein filet suffit (sinon Bubb fait pareil que toi 👍) et privilégier un pas fin tant que possible
Moto(s) : une mob
Voui, perçage avec des forets carbure. Ca coute un bras, mais c'est très efficace...
Autrement, version Cériani, où les tiges sont soudées :
Usinage avec l'outil sur mesure :
Soudure d'un écrou et usinage de tiges à la demande :
Mac, je t'ai envoyé un mail.... Reçu ?
Autrement, version Cériani, où les tiges sont soudées :
Usinage avec l'outil sur mesure :
Soudure d'un écrou et usinage de tiges à la demande :
Mac, je t'ai envoyé un mail.... Reçu ?
desolè rien reçu
domaine.st.martin@free.fr
domaine.st.martin@free.fr
Moto(s) : portal bps
Je viens de récidiver... ;)
Très intéressant ce post, merci les gars!👍
les telesco
hydraulique bien foutue avec frein de fin de course (haute)
c'est le petit troue en bas de tige
l'huile prise entre le piston et le guide arrive en haut elle doit passer par le troue qui est callibre par un petit clapet reglable
ces amortos etaient monter sur les bps 73.74
malheureusement les tiges ne valait rien trop fines 10mm
j'en ai passer en 12mm plus de probleme
hydraulique bien foutue avec frein de fin de course (haute)
c'est le petit troue en bas de tige
l'huile prise entre le piston et le guide arrive en haut elle doit passer par le troue qui est callibre par un petit clapet reglable
ces amortos etaient monter sur les bps 73.74
malheureusement les tiges ne valait rien trop fines 10mm
j'en ai passer en 12mm plus de probleme
Moto(s) : portal bps
Moto(s) : une mob
Euh la Michel, c'est vraiment top😳😳😳
Franchement tu m’enlèves une très grosse épine du pied l'ami.
Franchement tu m’enlèves une très grosse épine du pied l'ami.
"En avant!"Moto(s) : 80 Fantic RC/ AIM 75 RG Sachs
Le père Noël est arrivé en avance en Dordogne.
Comme un sale gosse j'ai ouvert le paquet avant😉
Merci Mikalet c'est du super taf👍.
Crois moi ça me fait vraiment plaisir, même si ce n'est pas pour un "pisse feu" ça va aller sur une très belle moto Italienne (une SWM 175 TF1 semi officielle qui a fait les 6 jours à Brioude).
Cella la je vais sortir une très belle machine, j'aurai même quelques reliques que le pilote de cette machine pour les ISDT a fourni avec cette Svoum, le casque d'époque, le sac des affaires....Etc...
Du lourd de chez lourd....Merci encore Michel😘
Comme un sale gosse j'ai ouvert le paquet avant😉
Merci Mikalet c'est du super taf👍.
Crois moi ça me fait vraiment plaisir, même si ce n'est pas pour un "pisse feu" ça va aller sur une très belle moto Italienne (une SWM 175 TF1 semi officielle qui a fait les 6 jours à Brioude).
Cella la je vais sortir une très belle machine, j'aurai même quelques reliques que le pilote de cette machine pour les ISDT a fourni avec cette Svoum, le casque d'époque, le sac des affaires....Etc...
Du lourd de chez lourd....Merci encore Michel😘
"En avant!"Moto(s) : 80 Fantic RC/ AIM 75 RG Sachs
Buon natale ;)
Moto(s) : une mob
2 semaines plus tard...
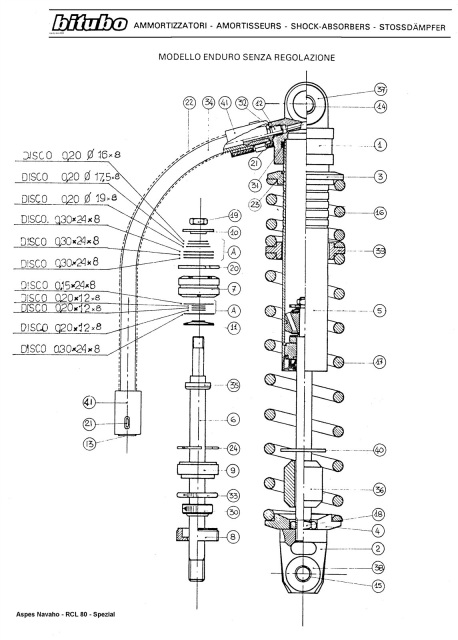
salut
juste une interrogation
les bitubo comment ça fonctionne avec leur longues durites
juste une interrogation
les bitubo comment ça fonctionne avec leur longues durites
Moto(s) : portal bps
a priori les durites serve de réserve d'huile et il faut des durites souples car elles agissent comme des réserves extensibles grâce a la souplesse du caoutchouc , un peu a la façon des membranes hydrocross 😉
infos RUGGINOSE
La pensée n'est pas un sport. Elle ne peut être le prétexte de petites réussites que récompensent des applaudissements. Elle n'est pas désintéressée. Elle n'est pas le fait d'un homme isolé. Les découvertes de tous entraînent l'évolution de chacun.
L'atelier de gégé: http://mon-site-83.e-monsite.com/Moto(s) : KTM 50 GS 77/ ZUNDAPP 50 GS 74/ FANTIC 50 RC 76 /125 GILERA VALLI 74 /BPS 125 SUPER ELAN 74
merci c'est bien ce que je pensais
mais pourquoi deux et surtout pourquoi les durites sont croisées entre les deux amortos
mais pourquoi deux et surtout pourquoi les durites sont croisées entre les deux amortos
Moto(s) : portal bps
Ce sujet ne contient pas encore de vidéo

































